
화성 현지자원활용 연구 동향과 지질학적 과제
초록
인류의 우주 탐사가 장기 체류와 자립을 목표로 확장됨에 따라, 화성에서의 현지자원활용은 생명유지와 인프라 구축의 핵심 기술로 부상하고 있다. 이러한 개념은 현재 NASA의 문투마스(Moon-to-Mars) 전략을 통해 달을 기술 실증의 시험장으로, 화성을 자립적 활용의 최종 단계로 설정하고 있다. 달에서는 산소 추출, 얼음 채굴, 표토 기반 건설 등의 기술이 단계적으로 실증되고 있으며, 이는 향후 화성 현지자원활용의 전 단계로서 의미를 가진다. 화성은 이산화탄소 중심의 대기, 얼음 및 수화광물, 현무암질 표토 등 다양한 자원 잠재성을 지니며, 이들을 활용한 산소·물·건설재 생산 기술 연구가 활발히 진행되고 있다. 이러한 기술적인 진전과 더불어, 실제 화성 현지자원활용을 위해서는 자원의 분포와 매장 깊이, 광물학적 특성 등 지질학적 근거가 필수적이다. 대표적으로, 중위도 지역의 매몰 얼음과 수화광물, 고규소질 광물의 존재는 물·산소·건설자원의 확보와 직결됨에도 불구하고, 그 형성과 분포에 대한 정밀한 암석학적·광물학적 연구가 부족한 상황이다. 따라서, 향후 화성 탐사에서 지질학은 현지자원활용 전략의 과학적 토대를 제공하는 핵심 분야로 자리해야 할 것이다. 이에, 인류의 지속가능한 우주 탐사를 가능하게 하는 핵심 기술인 현지자원활용의 발전을 위해서는 지질학·지구화학·지구물리학·원격탐사 등 다양한 분야의 통합 연구와 표준화된 데이터베이스 구축 등을 통한 지질학 연구의 기여가 필수적이라 할 수 있을 것이다.
Abstract
As space exploration aims long-term habitation in the extraterrestrial planets, in-situ resource utilization (ISRU) on Mars has emerged as a key technology for sustaining life and building infrastructures. ISRU is considered as one of the main objectives within NASA’s recent Moon to Mars architecture, which designates the Moon as a technological testbed and expands ultimately to Mars. Lunar missions, including Artemis, are currently demonstrating technologies such as oxygen extraction, polar ice mining, and regolith-based construction, thereby providing an essential framework for the subsequent implementation of ISRU on Mars. Mars exhibits significant resource potentials, characterized by a CO2-dominated atmosphere, extensive subsurface and polar ice deposits, hydrated minerals, and basaltic regolith. These materials provide essential feedstock for the ISRU commodities, such as oxygen, water, metal, and construction materials. Ongoing ISRU research has focused on developing technological methods for extraction and processing. However, the ISRU using Martian resources requires a comprehensive and robust geological understanding of the distribution, depths, and mineralogical composition. In particular, the presence of buried ice, hydrated minerals, and silica-rich phases in the mid-latitude regions of Mars is directly associated with the availability of resources; however, detailed petrological and mineralogical investigations into their origin, spatial distribution, and the physical properties remain constrained. Thus, geological sciences will play a central role in establishing the scientific framework for ISRU development on Mars, providing integrated insights from mineralogy, petrology, geophysics, and related disciplines. Ultimately, a rigorous geological understanding is essential not only for evaluating the feasibility of ISRU but also for ensuring the long-term sustainability of human exploration on the Martian surface.
Keywords:
in-situ resource utilization, Mars, regolith, hydrated minerals, planetary geology키워드:
현지자원활용, 화성, 표토, 수화광물, 행성지질학1. 서 론
인류는 오랫동안 지구 너머로의 진출을 꿈꾸어 왔으며, 수십 년간의 우주 탐사를 통해 그 꿈을 실현해오고 있다. 특히, 달과 화성에 대한 탐사는 단순한 과학적 호기심의 충족에 그치지 않고, 인간의 장기적 거주와 자립적 활동이라는 더 큰 목표를 향해 확장되고 있다(Linne et al., 2017; Thomas and Sewel, 2025). 이러한 목표는 미국 항공우주국(National Aeronautics and Space Administration; NASA)을 비롯한 주요 기관들의 국가 주도적 계획뿐만 아니라 민간 우주기업의 참여와 국제적 협력 확대를 통하여 구체화되고 있다(Rausser et al., 2023; Melamed et al., 2024). 그러나, 인류가 직접 지구 외 천체로 진출하는 형태의 유인 우주 탐사의 가장 큰 제약 요인은 생명 유지에 필수적인 산소(O2), 물(H2O), 식량 등 물자의 공급과 장기 임무 수행에 필요한 인프라의 구축이다. 발사체 기술의 발전과 상업적 활용의 확대에도 불구하고, 현재까지는 1 kg 정도의 화물을 지구 저궤도에 투입하는 데에도 수천 달러의 비용이 요구되며, 이를 달이나 화성까지 확장할 경우 필요한 비용은 기하급수적으로 증가한다.
따라서, 장기적인 우주 탐사 임무 및 정착을 실현하기 위해서는 지구로부터 물자와 자원을 전량 보급 받는 기존의 탐사 패러다임에서 벗어나 탐사의 대상이 되는 지구 외 천체 현지의 자원을 직접 활용하는 전략, 즉 현지자원활용(in-situ resource utilization; ISRU)이 필수적이다. 현지자원활용은 지구에서 운반해야 하는 물자의 양과 이에 대한 의존도를 줄임으로써, 유인 탐사의 비용과 향후 발생할 위험을 크게 낮추는데 기여한다(Meurisse and Carpenter, 2020; Cilliers et al., 2023). 현지자원활용은 인류가 우주 탐사를 시작하던 시기부터 꾸준히 논의되어 온 개념으로, 아르테미스(Artemis) 미션의 본격화에 따라 그 중요성이 더욱 부각되고 있으며 (Sanders and Kleinhenz, 2024, 2025), 최근 ‘문투마스(Moon-to-Mars; M2M)’ 전략에도 현지자원활용의 역할이 강조되고 있다.
현지자원활용의 실현 가능성을 평가하고 적용 방안을 구체화하기 위해서는, 무엇보다도 활용 가능한 자원의 존재 여부와 물질 특성에 대한 지질학적 근거가 뒷받침되어야 한다. 실제 자원의 분포 및 가용성에 대한 정보는 탐사의 임무 비용 및 위험도와 직접적으로 연결되어 기술 적용의 성공 가능성을 결정짓는 데 큰 역할을 한다(Starr and Muscatello, 2020; Cilliers et al., 2023). 그러므로, 지질학적 지식을 기반으로 탐사 대상이 되는 달, 화성 및 소행성의 표면 물질 조성, 광물학적 및 지화학적 특성, 자원의 분포와 행성 물질들의 물리적인 거동에 대한 충분한 이해가 선행되어야 한다.
화성은 태양계 내에서 인류가 장기적 거주와 자립적 활동을 실현할 가능성이 가장 높은 천체로 평가된다. 따라서 국가 차원의 탐사 및 SpaceX를 비롯한 민간 차원의 탐사 모두에서 2030년대 화성 탐사 계획을 공식적으로 발표한 바 있다(Palmer, 2021; Seedhouse, 2022; Chatzitheodoridis et al., 2025). 이는 화성 정찰 위성(Mars Reconnaissance Orbiter; MRO) 등의 궤도선 탐사와 큐리오시티(Curiosity) 및 퍼서비어런스(Perseverance) 등 일련의 로버 탐사를 통해 얻어진 화성 표면의 지형학적 특징 및 광물학적 정보들을 바탕으로 한다. 대표적으로, 화성 대기의 대부분이 이산화탄소(CO2)로 이루어져 있다는 것과, 화성 극지방의 얼음의 존재와 중위도 지역의 수화광물 분포를 통해 인류 활동에 필수적인 자원을 현지에서 확보할 수 있음이 확인된 바, 화성은 현지자원활용 기술을 통해 인류가 자립적 생존 기반을 구축할 수 있는 가장 유망한 행성으로 여겨진다.
따라서, 본 논평에서는 화성에서의 현지자원활용에 관련한 최근 연구 동향을 정리하고, 향후 지질학 분야의 연구자들이 주목해야 하는 연구 방향에 대해 제언하고자 한다. 이에, 먼저 현지자원활용의 개념과 학문적 의의를 정리하고, 달 탐사를 통해 축적된 선행사례를 검토한다. 이어서 NASA가 제시한 문투마스 전략과 연계된 현지자원활용의 방향을 살펴보고, 화성에서의 가능성을 지질학적 연구를 중심으로 논의한다. 마지막으로 향후 현지자원활용 연구에서 지질학 및 행성지질학 분야에서 수행되어야 할 과제에 대하여 제언하고자 한다.
2. 현지자원활용 연구의 발전
현지자원활용의 개념은 지구 외 천체를 대상으로 한 인류의 탐사 초기 단계부터 꾸준히 강조되어 왔다. 1960-70년대 아폴로(Apollo) 프로그램 시기부터 현재까지 달 토양에서 산소를 추출하거나, 표토(regolith)를 건축자재로 활용하는 방안이 논의되었다(Allen, 1996; Schlüter and Cowley, 2020). 특히, Ash et al. (1978)의 논문에서는 현지자원활용이 본격적으로 논의되기 이전임에도 불구하고, 화성의 대기 및 표토를 활용한 자원 추출 개념에 대해 제시한 바 있으며, 이는 40여년이 지난 현재까지도 현지자원활용의 기본 틀로 인용되고 있다(Starr and Muscatello, 2020). 이 논문에서는 화성 표면의 승무원을 귀환시키기 위해 필요한 화성 상승선(Mars Ascent Vehicle; MAV) 추진제를 지구에서 조달하는 것은 불가능하다는 점을 지적하였다. 이에 대한 대안으로써, 빈 연료 탱크 상태의 MAV를 화성 표면에 착륙시킨 뒤 추진제를 직접 획득하여 충전한 뒤 지구로 귀환시키는 방법에 대하여 제안하였다(Ash et al., 1978). 이 때, 현지에서 조달할 수 있는 추진제로 산소-메탄(CH4) 혼합물이 적합하며, 이를 획득하기 위해서는 화성 대기 내 이산화탄소를 냉각·포집하고, 토양 내 물을 확보하여 전기분해와 메탄화를 거쳐 산소와 메탄을 생산할 수 있는 공정 가능성을 제시하였다. 이는 화성 현지자원활용의 과학적 및 공학적 가능성을 최초로 검토한 연구로, 이후 국제적으로 진행되는 다양한 현지자원활용 연구의 출발점으로 여겨지고 있다.
현지자원활용은 1980년대 후반 조지 H. W. 부시 행정부의 우주탐사계획(Space Exploration Initiative; SEI)을 계기로 국가 차원의 우주정책에 명시적으로 반영되기 시작하였다. 이후 2005년에 수립된 NASA의 ISRU Capability Roadmap에서는 달과 화성에서의 산소, 물, 금속, 건축 자재 확보를 위한 세부 기술 목표와 개발 경로를 제시함으로써, 현지자원활용 연구는 본격적 개발 단계로 진입하였다(Sanders and Duke, 2005). 이 로드맵에서는 현지자원활용을 통해 달성해야 할 임무의 세부 영역을 보다 구체화하여 (1) 임무 소비재의 생산, (2) 표면 건설, (3) 현지자원을 활용한 제조 및 수리, (4) 우주 기반 에너지와 전력의 생산으로 구분하였으며, 이러한 네 가지 임무 영역을 실현하기 위하여 자원 추출(resource extraction), 물질의 운송(material handling and transport), 자원 처리(resource processing), 표면에서의 제조(surface manufacturing with in-situ resources), 건설(surface construction), 현지자원을 활용한 생산물 및 소비재의 저장과 분배(surface ISRU product and consumable storage and distribution)와 현지자원활용의 지속적 개발 및 인증(ISRU unique development and certification capabilities)이라는 총 7가지의 기술개발 영역에 대하여 규정하였다. 이렇게 제시된 현지자원활용의 주요 목표와 기술적 영역은 현재의 연구와 개발 전략 수립에 여전히 중요한 기반으로 작용한다.
지구 외 천체 가운데 현지자원활용이 현실적으로 논의되는 대상은 달과 화성이다. 달에서는 표토를 활용한 산소의 생산, 방사선 차폐와 건설 자재 확보를 중점 목표로 설정하였고, 화성에서는 대기 중 높은 비율을 차지하는 이산화탄소와 토양 내 물을 활용한 추진체 생산과 생명 유지 자원의 확보가 핵심 과제로 규정되었다. 이후 2016년 전후로 수립되었던 NASA 존슨우주센터(Johnson Space Center)의 탐사기술 개발 전략(L-8 initiative)에서는 화성에서의 현지자원활용을 위한 구체적인 기술 분야가 제시되었으며, 그 중에서도 화성 대기를 활용한 산소 및 메탄 생산 시나리오가 상세히 검토되었다(Sanders, 2016).
2020년대 초, 국제우주대회(International Astronautical Congress; IAC)에서 공식적으로 발표된 문투마스 아키텍처 내에도 현지자원활용이 전체 탐사 목표 달성의 핵심 기술로 명시되어 있으며, 그 세부 목표가 크게 자원 평가(Resource assessment), 현지자원활용 및 적용(ISRU and Usage), 책임 있는 현지자원활용(Responsible ISRU) 세 가지의 영역으로 구체화되었다(ISECG, 2022). 자원 평가의 경우 달 및 화성 표면과 내부 자원의 존재 여부, 분포, 매장량 그리고 채취 가능성을 정량적으로 규명하는데 목적이 있다. 이를 위해서는 광물학적, 지화학적 분석, 분광 탐사 및 지표 탐사 로버의 현장 관측 자료를 통합하여 활용 가능한 자원의 잠재적 위치를 지도화 하는 것이 목표로 제시되었다. 현지자원활용 및 적용 영역에서는 확보된 자원을 실제로 채취(excavation), 정제(purification), 저장(storage) 및 활용하기 위한 공정 기술 개발을 포함하고 있다(그림 1). 대표적으로, 물과 얼음을 이용한 산소와 수소 생산, 표토 기반 건축자재 제조, 그리고 대기 및 토양으로부터의 연료 합성 등이 여기에 해당한다. 마지막으로, 책임 있는 현지자원활용 영역에서는 과학적 탐사, 환경 보존, 국제 규범 준수 간의 균형을 고려하여 현지자원활용을 위한 윤리적·법적 프레임워크의 구축을 목표로 한다. 즉, 현지자원의 채굴 및 이용 과정에서 천체의 환경을 훼손하지 않고, 탐사 대상의 국제적 가치와 국제 협약에 부합하는 지속 가능한 이용 기준을 확립하는 것 역시 중요한 과제이다(ISECG, 2021).
이처럼 현재 현지자원활용에 대한 탐사 전략은 달과 화성 각각에 대하여 개별적으로 추진되는 것이 아니라 두 천체를 연계하는 통합적 접근으로 전환되고 있다(그림 2). 특히, 문투마스 아키텍처에서는 달을 현지자원활용 기술의 실증과 운용 체계 검증의 대상으로 설정하여, 산소 추출, 얼음 채굴, 표토 기반 건설 등 다양한 기술이 실제 임무를 통하여 단계적으로 수행되고 있다.
3. 달에서의 현지자원활용 방안과 문투마스 전략
현재까지의 NASA 아르테미스 계획의 상당 부분은 1980년대 이후 중단되었던 유인 우주비행사가 달 표면 착륙 후 복귀하는 것에 초점이 맞춰져 있다. 하지만 장기적인 비전의 핵심은, 단순한 착륙에 그치지 않고, 지구-달 공간(Earth-Moon space) 및 달 표면에서의 지속 가능한 탐사와 체류를 실현함으로써 향후 화성 탐사로의 단계적 확장 기반을 구축하는 것에 있다. 이러한 전략적 방향성은 2020년대 초부터 NASA가 제시한 문투마스 아키텍처의 핵심 구성 요소로 자리잡고 있으며, 특히 달에서의 현지자원활용 기술 실증은 향후 화성 임무의 신뢰성을 확보하기 위한 필수적인 단계로 간주되고 있다(Merancy, 2024).
달은 지구로부터 비교적 가까운 거리(약 38만 km)에 위치하며, 통신 지연이 짧고 임무 복귀가 용이하다는 점에서 현지자원활용 기술의 테스트베드로 이상적인 조건을 갖추고 있다. 우주기술임무국(Space Technology Mission Directorate; STMD)이 2022년 발표한 ‘현지자원활용 미래 우선 과제(ISRU Envisioned Future Priorities; EFP)’에서는, 극지방의 영구 음영지역(Permanent Shadowed Regions)을 비롯한 달 표면에서의 물 혹은 얼음의 공간 분포를 정량화한 뒤 채굴하는 기술과 달의 표토로부터 산소를 추출하는 기술이 가장 우선적인 목표로 제시되었다. 이 두 가지 필수 임무에 더하여 표토에서 건설 및 제조에 필요한 금속을 추출하는 기술 개발이 중장기적 목표로 설정되었다(Sanders and Kleinhenz, 2022).
이러한 연구 및 기술개발은 기술성숙도(Technology Readiness Level; TRL) 체계를 기반으로 실증 및 발전 수준이 평가되고 있다. 일반적으로 TRL은 총 9개 단계로 구분되며, TRL 1-3은 실험실 수준의 개념 연구, TRL 4-5는 모의환경에서의 프로토타입 실험, TRL 6은 유사 환경에서의 시스템 실증, TRL 7-9는 실제 천체 표면에서의 운영단계로 구분된다. NASA는 현재 모의 달 표면 환경을 구현한 실험실 내에서 TRL 5-6 수준의 기술을 실증하는 단계로 접어들고 있다.
이때, 지속가능성을 높이고 효율적인 탐사 수행을 위해, 현재 NASA에서는 Lunar Surface Innovation Consortium (LSIC)를 설립함으로써 학계, 민간, 산업체 등의 참여를 적극적으로 유도하고 있다. 이와 관련한 대표적인 프로그램이 상업용 달 탑재체 서비스(Commercial Lunar Payload Services; CLPS)로, NASA가 민간 기업(예, Intuitive Machines, Astrobotic, Firefly 등)에 착륙선 개발과 운용을 맡기고 개발된 여러 임무 관련 탑재체를 달 표면으로 운송하는 형태의 체계가 정립되었다.
달 현지자원활용의 두 가지 주요 목표 중, 달 남극 지역에서의 얼음의 시추 채굴과 관련하여, NASA에서는 PRIME-1 (Polar Resources Ice Mining Experiment) 탑재체를 개발하여 극지방 영구 음영지역의 얼음의 분포와 매장 깊이를 탐색하고 시추장치와 질량분석기(Mass Spectrometer Observing Lunar Operations; MSolo)를 이용하여 얼음을 구체적으로 분석하는 것을 목표로 하였다(Quinn et al., 2023). 이 장비는 CLPS의 일환으로 수행된 IM-2 (Intuitive Machines Mission-2, Athena) 착륙선에 탑재되어 2025년 2월 달 남극 인근 지역으로 발사되었다. 다만, 목표로 하였던 달 남극 지역까지 도달하는 것에는 성공하였으나, 착륙선의 자세 이상으로 PRIME-1의 가동이 제한되었다(Kleinhenz et al., 2024). 이후 NASA는 VIPER (Volatiles Investigating Polar Exploration Rover) 임무를 진행 중에 있으며, 이 역시 CLPS를 통해 Astrobotics 사의 Griffin 착륙선에 탑재되어 달 남극 노빌 분화구(Nobile Crater) 부근에 착륙할 예정이다(Fernando et al., 2025). 이 VIPER의 경우, 이동형 로버로서, 탑재체 내에는 중성자 분광기(Neutron Spectrometer System; NSS) 및 근적외선 분광기(Near-Infrared Volatiles Spectrometer System; NIRVSS), 질량분석기(MSolo)가 장착되어 있다. 이를 기반으로 수 킬로미터 범위 내에서 얼음 및 휘발성 물질의 분포를 탐사하고, 1 m 깊이까지의 시추를 통해 수소 분포 지도 등 휘발성 자원 분포를 고해상도로 지도화할 계획이다. 우리나라의 다누리(Korea Pathfinder Lunar Orbiter; KPLO) 역시 달 표면 얼음 및 휘발성 물질 탐사에 기여하고 있다. 다누리에는 NASA와 한국항공우주연구원이 공동 개발한 ShadowCam이 장착되어 있으며, 달 남극 영구 음영지역을 고해상도로 촬영하여 얼음 분포 가능성을 확인함으로써, 현지자원활용 실증 임무의 착륙 후보지 선정을 위한 기초 데이터를 제공하는 역할을 하고 있다(그림 3).
Full-scale implementation and commercial operations of Lunar ISRU missions (modified from Sanders and Kleinhenz, 2024).
달 표토로부터 산소를 추출하는 기술 개발의 경우, 향후 화성에서의 현지자원활용 개발과 직접적으로 연계되는 핵심 기술 단계로 간주된다. 달 표토로부터 산소 추출을 하기 위한 방법으로는 대표적으로 용융 전기분해(Molten regolith electrolysis), 탄소열반응(Carbothermal reduction), 수소 환원(Hydrogen reduction) 기술이 활용된다. 최근 NASA 케네디 우주센터(Kennedy Space Center)에서 수행된 연구에서는 진공 환경에서 달 모사토를 용융 전기분해하여 산소 추출 실험을 수행함으로써(Sibille et al., 2009), 고온 및 진공 조건에서도 산소 발생이 안정적으로 이루어질 수 있음을 보여주었다. 이에 더하여, 표토를 1600℃ 이상의 고온에서 탄소와 반응시켜 일산화탄소와 산소를 생성하는 탄소열반응 공정 및 1000℃ 정도의 비교적 낮은 온도에서 표토 내 FeO와 수소를 반응시켜 물 및 산소를 추출하는 수소 환원 방식도 지속적으로 개발되고 있다.
이러한 산소 추출을 비롯한 현지자원활용 기술의 실험적 검증을 위해서는 실제 달 표토와 유사한 물리-화학적 특성을 가진 달 모사토(lunar simulant)의 개발이 필수적이다. 달 모사토는 입도 분포, 광물 조성, 산화 상태 및 화학 조성 등을 가능한 실제 달 토양과 유사하게 구현하여 현지자원활용 실험 및 장비 검증에 활용된다. 해외에서는 이미 다양한 달 모사토가 개발되어 연구에 활용되고 있다. 대표적으로 미국 NASA의 JSC-1 및 JSC-1A 등 존슨우주센터 시리즈는 아폴로 시료 중 현무암질 화산재를 기반으로 제작되었으며, Orbitec Planetary Regolith Laboratory의 GRC-1, MLS-1, NU-LHT 등의 시료는 달의 고지대와 저지대 표토 차이를 반영한 모델로 널리 쓰이고 있다. 유럽우주국에서도 노르웨이 현무암을 활용한 EAC-1 및 EAC-2 모사토를 제작하여 산소 추출과 3D 프린팅 건설 실험에 활용하고 있으며, 중국도 창어 탐사 데이터를 기반으로 CAS-1 및 CE-2 모사토를 개발하여 자원처리 및 제련 연구에 이용하고 있다.
국내에서도 달 모사토의 개발과 활용이 활발히 진행되고 있는데, 현무암질 달 모사토인 KOHLS-1 (Korea Hanyang Lunar Simulant-1), KAUMLS (Korea Aerospace University Mechanical Lunar Simulants), KLS-1 (Korea Lunar Simulant-1) 등이 개발되었으며(Koh et al., 2009; Yoo et al., 2014; Ryu et al., 2016), 한국건설기술연구원에서 달 토양 모사토를 대량으로 생산할 수 있는 기술 및 달 토양 환경을 구현할 수 있는 열-진공 챔버를 개발하여 달 표면 환경 모사 실험에 활용하고 있다(Yoo et al., 2018; Ryu et al., 2021; Park, 2023). 이와 더불어 달 착륙선이 고원지대에 착륙하는 것을 대비하기 위하여 국내 회장암을 활용한 달 고원 모사토, KIGAM-L1이 개발되었다(Kang et al., 2024).
이처럼 달에서의 현지자원활용은 TRL 6 수준 이상의 실증 단계에 도달하였으며, CLPS와 연계된 구체적 탐사 계획을 중심으로 기술의 현실화 단계에 진입하였다. 이렇게 수행된 일련의 현지자원활용 실증 임무들은 문투마스 아키텍처의 기술적 토대를 형성하고, 이러한 경험을 기반으로 화성에서의 자원 채취, 정제 및 활용 공정으로 확장되어 화성 유인 탐사의 지속가능성을 확보하는 데 실질적 단계로서의 중요한 의미를 지닌다.
4. 화성에서의 현지자원활용 연구 동향
화성은 태양계 내에서 인류가 장기적으로 거주할 수 있는 가장 현실적인 천체로, 지질학적 특성 및 대기 조성을 살펴보았을 때 현지자원활용에 상당한 잠재력을 가지고 있다. 화성의 주요 자원으로는 이산화탄소 중심의 대기, 극지 및 지하에 분포하는 수자원, 그리고 규산염, 산화철 및 산화티타늄을 주성분으로 하는 표토가 있으며, 이는 추진제, 생명유지 자원, 건축 및 기반시설 재료를 현지에서 생산할 수 있는 기본적인 화학적, 물질적 기반이 된다.
4.1. 화성 대기를 활용한 현지자원활용
화성의 대기는 약 6-7 mbar의 기압으로 지구 대기의 약 0.6% 수준으로 매우 희박하지만, 약 95%의 이산화탄소와 2.7%의 질소, 1.6%의 아르곤으로 구성되어 있어 현지자원활용에서 잠재력을 가진다(Owen et al., 1977). 이러한 대기 내 이산화탄소는 화성에서의 산소, 물, 그리고 메탄을 생산하는데 원료가 된다. 더하여, 화성 질소를 활용한 질소산화물 및 암모니아 합성을 통해 비료로 이용하려는 연구 역시 주목받고 있다(Luo et al., 2024).
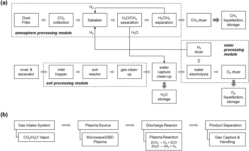
이에 따라 NASA에서는 2000년대 중반부터 화성 대기 중 이산화탄소를 직접 포집하여 연료와 산소를 추출하는 기술 개발에 집중하고 있으며, 주로 사바티에 반응(Sabatier reaction, CO2 + 4H2 → CH4 + 2H2O)과 전기분해 기술을 적용하고 있다(그림 4a). 최근에는 플라즈마 및 전자파를 활용한 이산화탄소 분해 연구도 활발히 진행되고 있다(Kelly et al., 2024; Zhu et al., 2025; 그림 4b). 이를 실험적으로 구현한 대표적인 사례로는 NASA 케네디우주센터와 Pioneer Astronautics 및 NASA 존슨우주센터가 공동으로 진행했던 MARCO POLO (Mars Atmospheric and Regolith Collector/PrOcessing for Lander Operations) 프로젝트가 있다. 이 프로젝트 내에서는 사바티에 반응 기술을 기반으로 화성 대기를 모사한 환경에서 이산화탄소를 포집하여 메탄과 물을 생산하는 Atmospheric Processing Model (APM)을 설계하고 운용하였다. APM은 두 개의 극저온 냉각기를 이용하여 모의 화성 대기에서 이산화탄소를 포집하고 수소와 반응시켜 시간당 32 g의 메탄과 70 g의 물을 생산하였으며, 이산화탄소 전환 효율은 약 99.9%에 달하였다(Muscatello et al., 2017). 이 때 생성된 물은 정제모듈(Water Cleanup Module, WCM)로 이동되어 정제 후 전기분해를 통해 산소로 전환된다. 이 시스템은 화성 현지자원활용의 핵심 목표인 대기 포집, 연료 합성 및 산소 생산을 연속적으로 구현하였고 이를 모의 화성 환경 실험실에서 입증하여 TRL 기준 약 6단계에 도달한 것으로 평가되고 있다.
(a) Conceptual diagram of ISRU propellent production methods (modified from Kleinhenz and Paz, 2017). (b) Process of plasma treatment of CO2 and H2O vapor (modified from Zhu et al., 2025).
이러한 이산화탄소를 활용한 현지자원활용 연구는 미국뿐만 아니라 유럽 및 중국 등에서도 활발히 연구되고 있는데, 최근 유럽우주국에서도 자체 기술 실증용 이산화탄소 환원 시스템인 Advanced Closed Loop System (ACLS)을 개발하였다(Kappmaier et al., 2016). 이 시스템 내에도 두 개의 사바티에 반응기가 사용되었으며, 이로부터 물을 생성하고 물을 전기분해한 후 산소 및 메탄을 생성하는 형태로, 국제우주정거장에 탑재되어 시간당 25 g의 메탄을 생산하며 승무원 3명의 생명유지 시스템에 필요한 산소를 공급할 수 있는 수준으로 평가되었다.
이후 NASA는 이러한 지상 실험 결과를 토대로 실제 화성 환경에서 가동할 수 있는 소규모 장치인 MOXIE(Mars Oxygen ISRU Experiment)를 개발하였고, 2021년 퍼서비어런스 로버에 탑재되었다. MOXIE는 화성 대기 내 이산화탄소를 전기분해하여 산소를 생성하는 실험장치로, 실제 화성 표면에서 1시간의 가동을 통해 약 6~10 g의 산소를 생산하였다. 이는 우주비행사 1명이 약 10분간 호흡할 수 있는 양으로, 단일 실험 단위로는 작지만 화성 대기에서의 산소 생산이 실제로 가능함을 입증하였다. MOXIE의 성공은 화성 현지자원활용 기술이 실험적 구상을 벗어나 실제 운용 가능한 수준으로 진입했음을 보여주는 사례로, 향후 NASA는 대형 산소 시스템인 MOXIE-2 및 ISRU Pilot Plant 구축을 검토 중에 있다.
4.2. 얼음 및 수화광물을 활용한 현지자원활용
현재까지의 수행된 다수의 궤도선 및 로버 탐사 결과를 통하여 화성에는 대기 내 수증기, 얼음 그리고 수화광물의 형태로 물이 존재하는 것이 알려져 있다. 그 중 극지방에는 거대한 규모의 이산화탄소 및 얼음이 존재한다는 것이 알려져 있으나, 이러한 고위도 지역은 인류 탐사선의 착륙 및 활동이 제한되는 환경적 제약으로 인해, 초기 유인 탐사나 현지자원활용 대상지로서는 접근성이 낮다. 화성 대기 내 수증기 함량의 측정 결과, 약 10-20 pr-μm (precipitable microns) 수준이며, 여름철 북반구에서는 최대 70 pr-μm에 달하는 것으로 보고되었다(Trokhimovskiy et al., 2015; Martínez et al., 2017). 다만, 화성의 낮은 대기압(6-7 mbar) 조건에서는 물이 액체상태로 존재하기가 어렵고, 수증기의 양 또한 매우 미미하여 현지자원활용 측면에서는 자원으로서 활용하기에 한계가 있다.
MRO 및 Mars Odyssey를 비롯한 여러 궤도선의 탐사 결과 위도 60도 이하의 중위도 지역에서는 빙하에 의해 퇴적된 암석, 홍수로 인해 형성된 지형 및 하천성 지형 등 물의 영향을 받은 지형이 존재하는 것이 확인되었다(Holt et al., 2008; Plaut et al., 2009). 또한, Mars Odyssey에 탑재된 중성자 분광기의 관측 결과에 따르면, 적도에서 극지방으로 갈수록 지표 상부 약 1 m 깊이 내 수소 함량이 점진적으로 증가하는 경향을 보였다. 이 측정값은 수소가 모두 물의 형태로 존재한다고 가정할 때의 물 함량 환산값(Weight Equivalent of Hydrogen; WEH)으로 계산되며, 이를 통하여 지하의 얼음 및 수화광물의 존재 가능성이 함께 제시되었다(Pathare et al., 2018; Wilson et al., 2018). 다만, 중성자 분광 관측은 광범위한 지역에 대한 정보를 획득하는 것에는 장점이 있으나, 이 수소가 얼음 형태로 존재하는지, 아니면 광물 구조 내 결합수 형태로 포함되어 있는지 명확히 구분하는 것에는 한계가 있다. 이후 가시광선 및 근적외선 분광탐사를 통하여, 현무암질 지각 중 일부 지역에서는 물과의 상호작용으로 형성된 수화광물이 존재한다는 것이 밝혀졌다(Ehlmann and Edwards, 2014). 현재까지 그 존재가 확인된 수화광물로는 침철석을 비롯한 수산화철 광물과 스멕타이트, 카올리나이트, 사문석 등의 점토광물, 오팔-A 및 오팔-CT 등이 있다(Morris et al., 2006, 2008). 이 광물들은 일반적으로 2-10 wt% 정도의 물 함량을 포함하고 있다. 화성 표면의 수화광물의 자원으로서의 활용 가능성을 확인하기 위하여 큐리오시티 로버는 게일 분화구 내에서 직경 150 μm 이하의 미세 입자를 채취하여 헬륨 기체로 가열 후 방출되는 물의 함량을 질량분석기로 분석하였다. 그 결과 약 300℃의 온도에서도 1.5~3 wt%의 물이 방출되는 것이 확인되었다(Leshin et al., 2013). 이러한 표토 물질은 화성 전역에 널리 분포할 것으로 추정되며, 매몰 얼음에 비하여 얕은 깊이에서 쉽게 접근 가능하며 상대적으로 높지 않은 온도의 열처리만으로도 물을 확보할 수 있는 실질적 자원임을 의미한다.
지표의 수화광물과 더불어 과거에 화성에 존재했던 다량의 물이 상당 부분 여전히 화성에 존재하고 있을 가능성이 제시되고 있다. 최근의 연구에서는 극지역 퇴적물과 화성 천부의 지하 얼음을 포함한 화성 전체에 존재하는 물의 양이 지구 전역 평균 수심 약 34 m에 해당하는 규모(Global Equivalent Water) 정도가 될 것이라 추정하였다(Carr and Head, 2015). 이러한 추정은 MRO에 탑재된 SHARAD (Shallow Radar) 탐사 결과를 통하여 실제로 매몰된 상태의 얼음이 존재한다는 증거가 제시되면서 뒷받침되었다(Stuurman et al., 2016). 특히, 중위도 지역에서 표토 하부 약 1-10 m 깊이에 고순도의 얼음층이 분포하고 있다는 것이 확인되었다(Plaut et al., 2009). 이러한 표층 근처의 얼음의 존재는 물 자원 확보 가능성을 크게 높이며, 향후 유인 탐사 임무에서 현지자원활용의 핵심 기반 자원으로 활용될 수 있음을 시사한다.
4.3. 화성 표토를 활용한 현지자원활용
화성의 화성암은 주로 현무암질 조성을 가지는 화산암류인 용암과 화산쇄설암, 그리고 초고철질 집적암(cumulate)로 구성되어 있다(McSween, 2015). 상대적으로 연령이 높은 지역에서는 알칼리 계열 암석이 흔히 나타나며, 연령이 낮은 지역에서는 톨레이아이트(tholeiitic) 계열의 암석이 분포하는 특징을 보인다. 화성에서는 퇴적암 역시 흔히 나타나는 암석으로, 크게 화성암 기원의 쇄설물이 다량 포함된 쇄설성 퇴적암과 증발성 황산염이나 열수 활동으로 인해 만들어진 높은 규소 함량의 퇴적물이 존재하기도 한다. 특히, 이 암석들은 장기간의 풍화, 산화 및 운석 충돌 등으로 인하여 미세한 입자 크기로 존재하는 경우가 많다. 주로 현무암질 물질이 기원이 되므로, 화성 표토의 화학조성 역시 약 40-45 wt% 내외의 규산염과, 약 15-20 wt%의 산화철, 8-10 wt%의 산화알루미늄, 5-10 wt%의 산화마그네슘, 그리고 약 1 wt% 내외의 산화티타늄으로 나타난다(Rieder et al., 2004). 이러한 화학적 조성을 지구와 비교해보았을 때 산화철 함량이 매우 높게 나타나는 것이 특징적이다.
현재까지 알려진 화성 표토의 화학적 및 물리적 특징을 기반으로 금속 및 산소 추출과 건설재 및 지오폴리머 소재 개발에 초점을 맞춘 연구가 다수 진행되어왔다(Mills et al., 2022; Nababan et al., 2022; Zheng and Qiao, 2022; Burke et al., 2024; Zhou et al., 2024). 특히, 화성 표토를 이용한 현지자원활용 연구에서는 주로 산화철과 산화티타늄으로부터 산소 및 금속을 추출하는 공정 개발에 초점이 맞춰져 있다. 달 표토를 이용한 연구와 마찬가지로 화성 표토로부터 탄소열환원, 용융 전기분해 등 고온 환원 반응을 통한 접근이 이루어지고 있으며, 많은 연구에서 화성 표토 조성을 기반으로 한 열역학적 및 반응속도론적 접근을 통하여 생산할 수 있는 자원의 양을 계산하는 연구가 다수 수행되었다(Muscatello and Gustafson, 2010; Nababan et al., 2022).
최근에는 이러한 연구가 단순한 열역학적 모델링 수준에 그치지 않고, 실제 화성 표토 모사토를 사용한 실증 연구로 확장되고 있다. 다만, 화성 표토의 모사토 제작은 달 모사토와는 달리 다양한 2차 광물과 휘발성 성분 등의 복잡한 광물학적 및 지화학적 특성을 모사해야 한다는 어려움이 있다. 이러한 어려움에도 불구하고, 최근에 발표된 연구에서는, 화성 토양의 실제 화학 조성과 광물학적 특성을 반영한 MGS-1 (Mars Global Simulant-1) 모사토를 대상으로 탄소열환원 실험을 수행하였다(Nababan et al., 2025a, 2025b). 이 연구에서는 MGS-1 시료를 1550-1650℃에서 탄소원과 반응시켰을 때 Fe-Si 합금 및 금속철이 생성됨을 보여주었으며, 반응 부산물로 발생한 일산화탄소와 이산화탄소는 추가적인 산소 회수 공정으로 재활용 가능함을 확인하였다. 이처럼 화성 표토를 이용한 금속 및 산소 추출 기술은 모델링 단계에서 실제 실험 검증 단계로 발전하였으며(TRL 3-4 수준), 향후 파일럿 스케일의 현지자원활용 금속 추출 시스템 설계에 기반이 될 것으로 기대되고 있다.
화성 표토를 활용한 또 다른 중요한 연구 방향은 지오폴리머를 포함한 건설 소재의 개발이다. 규산 소다 및 수산화나트륨 등의 알칼리 용액과 화성의 표토를 반응시킴으로써, 화성 토양 물질을 지오폴리머로 전환하여 거주 모듈 및 착륙장 건설에 활용하거나 방사선 차폐벽 구축 등에 활용하려는 시도가 활발히 이루어지고 있다. 지오폴리머 결합재는 전통적인 포틀랜드 시멘트와 달리 수화반응이 아닌 Si-O-Al 결합의 재배열 및 중합반응으로 강도를 구현하는 물질로 상온에서도 경화가 가능하고 화성의 낮은 기압 및 건조한 조건에서도 합성이 가능할 것으로 기대되고 있다(Alexiadis et al., 2017; Mills et al., 2022).
최근의 여러 연구에서는 화성 모사토(MGS-1, MMS-2 등)에 수산화나트륨 및 수산화칼륨 용액을 활성제로 사용하여 지오폴리머를 합성하였으며, 약 10 MPa 내외의 압축강도 발현이 가능함이 확인되었다(Mills et al., 2022; Wu et al., 2024; Zhou et al., 2024). 다만, 화성 모사토 기반 지오폴리머는 극저온 및 진공에 가까운 화성 환경 모사 조건에서는 1-3 MPa 수준의 낮은 압축강도를 보였으며, 이는 달 모사토 및 지구에서 활용되는 일반적인 재료와 비교할 때 가장 낮은 기계적 안정성을 나타낸다(Mills et al., 2022). 이러한 낮은 강도 발현은, 화성의 현무암질 모사토 내 실리카와 알루미나의 함량이 낮고 비정질 상의 비율이 적어 알칼리 활성화 반응성이 제한되기 때문으로 여겨진다. 이러한 낮은 강도를 극복하기 위해서, 최근 연구에서는 열처리, 마이크로파 가열 및 3D 프린팅 기반 적층제조 기술 등이 적용되고 있다(Warren et al., 2022; Gupta et al., 2024; Deng et al., 2025).
5. 화성 현지자원활용 연구에서 지질학 분야의 역할과 전망
화성에서의 현지자원활용이 현실화되기 위해서는 기술적 실증뿐만 아니라 지질학적 자료의 정밀한 해석과 광물·암석학적 근거에 기반한 자원 평가가 선행되어야 한다. 이는 화성에서의 자원의 존재와 분포, 그리고 물리·화학적 특성 역시 지질학적 과정의 산물로서, 그 형성과 진화에 대한 이해 없이는 실제 활용 가능성을 판단하기 어렵기 때문이다. 따라서 지질학적 연구는 단순히 탐사 결과를 보완하는 보조적 역할이 아니라, 현지자원활용 전략의 과학적 근거를 제공하는 핵심 단계이다(Kim, 2023).
현지자원활용과 관련하여, 지질학적 연구가 필요한 가장 대표적인 사례는 화성 중위도 지역에 분포하는 매몰 얼음 및 수화광물에 대한 정밀한 해석이다. 이들은 화성에서 가장 유망한 물 자원으로 간주되지만, 그 형성 기원, 조성, 열적 안정성, 매장 깊이 등에 대해서는 아직 명확히 규명되지 않았다. MRO를 비롯한 여러 궤도선 탐사 결과는 중위도 지역의 약 1-10 m 깊이에 고순도의 얼음층이 존재할 가능성에 대해서 제시하였으나(Stuurman et al., 2016), 이에 대한 구체적인 지질학적 정보가 부족한 상황에서는 현지자원활용을 위한 시추 장비 설계 및 소비 에너지량 산정 등의 공학적 평가는 필연적으로 제약을 받을 수 있다. 또한, 화성 표면에 다량의 수화광물이 존재한다는 사실 역시 MRO에 탑재된 근적외선-가시광선 분광기인 CRISM (Compact Reconnaissance Imaging Spectrometer for Mars) 탐사 결과를 통해 밝혀져 왔으나, 각 광물 내 결합수 혹은 층간수의 함량이나 탈수 온도 범위 등 실제 광물학적 데이터의 수집은 여전히 부족한 상태이다.
물 자원뿐만 아니라, 광물학적 및 암석학적 정보의 수집 및 이해는 화성 표토의 활용에도 핵심적인 정보를 제공한다. 특히, 상대적으로 단순한 현무암질 및 회장암질 광물 조성에 기반하는 달의 표토와는 다르게, 화성의 표토는 황산염 및 염화물과 같은 용해성 염류와 다양한 수화광물 및 고규소질 비정질 물질이 혼재한다. 이는 화성의 풍화, 변질 및 수성 작용의 이력을 기반으로 형성된 특징으로, 지역에 따라 서로 다른 지질학적 과정을 거쳤음을 의미한다. 따라서, 이러한 지질 및 지구화학적 특성은 표토의 반응성, 열적 거동, 용해-침전 메커니즘 등 현지자원활용 공정의 효율을 결정짓는 주요 요인이 된다. 대표적으로, 금속 및 산소 추출, 지오폴리머 생산 및 건축용 소재 개발에 있어 표토의 광물학적 및 암석학적 특성, 그리고 지역적 지질환경에 따라 성능 및 효율이 크게 달라질 수 있다. 예를 들어, 산소 및 금속 추출 공정은 현무암질 표토가 우세한 지역에서 수행할 때 환원 반응 효율이 높을 것이고, 황산염 및 점토광물이 풍부한 지역은 물 및 산소 생산에 적합할 수 있다. 최근 보고되고 있는 고규소질 광물(예, 오팔-A 및 오팔-CT) 및 비정질 규산염 물질의 존재는 높은 안정성과 반응성을 기반으로 지오폴리머 결합재나 방사선 차폐 소재 등 건축용 소재 개발에 활용될 잠재력이 크다.
상기 언급한 것과 같이, 화성 표면의 현무암질 암석지대 이외에 변질 및 풍화로 인해 형성되는 광물의 존재에 따라 현지자원활용의 원료로서의 가능성 및 공정 설계가 크게 달라질 수 있다. 또 하나의 대표적인 사례가 화성 표면에 널리 분포하는 과염소산염(perchlorates, ClO4-)의 존재 여부에 따른 인체 위해성, 안정성 및 공정 반응성 등과 관련한 연구의 필요성이다. 과염소산염은 인체에 독성을 가지며 장비의 부식을 가속화하는 등 위해성이 있는 물질이나, 여러 탐사선 연구를 통해 화성 표면에 약 0.4~0.6%의 함량이 존재하는 것으로 보고되었다(Hecht et al., 2009; Galvin et al., 2013). 이러한 수준의 과염소산염의 함량은 추출 공정에서의 빙점 강하, 얼음 상 변화 및 시추 장비의 내구성 등에 직접적인 영향을 미칠 수 있는 것으로 알려져 있다(Davila et al., 2013; Royle et al., 2017). 하지만, 동시에 과염소산염을 열적, 전기화학적 분해를 통해 산소 또는 산화제 형태로 활용될 잠재력도 가지고 있어, 그 농도, 분포 및 열적 거동에 대한 지질학적 규명이 필수적이다.
이처럼, 화성 표면 및 지하에 존재하는 다양한 광물 및 암석의 명확한 규명은 현지자원활용의 구체적인 방향성을 설정하고 각 공정의 적용 가능성을 평가하는 데 필수적인 기초 자료를 제공한다. 자원의 형성 기원, 광물-지화학적 조성, 열-유체 반응 특성 등에 대한 지질학적 이해가 충분하지 않으면 실제 생산 공정의 가능성 및 효율성 평가, 장비 설계 조건 등 핵심 요소를 산정하기 어렵기 때문이다. 더하여, 이와 같은 광물 및 암석학적 정보는 실제 화성 환경을 반영한 복잡한 모사토 개발에도 직접적인 기준을 제시하여 실험실 기반의 기술 검증을 실질적 현장 적용 수준으로 끌어올리는데 중요한 역할을 할 것이다.
화성에서의 현지자원활용은 기술적 도전의 차원을 넘어, 인류가 지구 외 천체에서 자립적 활동 기반을 구축하기 위한 핵심적 과학 기술로 떠오르고 있다. 이러한 시대적 전환점에서, 지질학 분야의 연구는 자원 확보의 과학적 토대를 마련함에 있어 결정적 역할을 담당할 것이다. 전술한 것과 같이, 화성의 지질학적 구조와 광물 조성에 대한 연구는 단순한 기초과학적 관심사뿐만 아니라 미래 우주 탐사 및 현지자원활용 전략의 근간이 되는 행성지질학적 산업 기반으로서 필수적이라 할 수 있다. 특히, 향후 수십 년 내에 달과 화성을 무대로 전개될 국제적 현지자원활용 경쟁에 대비하기 위해서는, 과학계가 화성의 지질 및 광물학적 특성에 대한 독자적 해석력과 데이터 구축 역량을 확보할 필요가 있다. 아울러, 국제 협력 탐사들과 연계하여 국가 차원의 지질학적 자료 통합 및 표준화된 데이터베이스 구축이 필요한 시점이다.
이에 미래 행성 탐사 분야에 있어 지질학의 다양한 분야가 긴밀히 연계될 필요가 있다. 암석학 및 광물학 분야에서는 화성 표면 및 내부 물질의 조성과 분포 형태에 대한 기반을 제공할 수 있을 것이며, 지구화학 및 광상학 분야에서는 물과 휘발성 물질의 순환이나 산화-환원 환경 및 변질 과정을 토대로 자원의 규모와 부존 양상에 대한 심도 있는 이해에 기여할 수 있을 것이다. 또한 지구물리학 및 원격탐사 연구에서는 궤도 및 지상 관측 자료를 통합하여 자원의 매장 깊이, 공간의 연속성 등을 규명함으로써, 기술적 실증에 필요한 데이터를 확보할 수 있을 것으로 기대된다. 이러한 접근을 토대로, 지질학은 화성의 현지자원활용뿐만 아니라 행성의 진화사와 환경 변화, 잠재적 거주 가능성에 대한 이해를 심화시키는 핵심 학문으로 자리매김할 것이다.
6. 결 론
본 논평에서는 화성에서의 현지자원활용에 관련한 최근 연구 동향을 정리하고, 향후 지질학 분야의 연구자들이 주목해야 하는 연구 방향에 대해 제언하고자 하였다. 현재 국제적으로는 NASA의 문투마스 아키텍처를 축으로 달에서의 단계적 실증과 화성 적용을 연계하는 연구가 확산되고 있으며, 유럽 및 중국 등 여러 나라에서도 대기, 수자원 및 표토를 대상으로 한 자원화 기술에 투자하고 있다. 화성은 이산화탄소 중심의 대기, 매몰 얼음과 수화광물, 현무암질 표토 등의 현지 거주를 위한 자원의 존재가 분명하지만, 실제 활용을 위해서는 임무 실증과 직결되는 지질학적 정보의 고도화가 필수적이다. 이에 기초과학적 관점의 지질학적 연구뿐만 아니라 자원지도 작성, 시추 및 분석 방법의 표준화 및 표면-지하 물질 데이터베이스 구축 등 자원 중심의 지질학적 탐사로 영역을 확장할 필요가 있다. 나아가, 지질학 각 분야 간의 긴밀한 협력과 국제 임무와 연동 가능한 현지자원활용 전략을 수립할 필요가 있다. 이러한 지질학 분야의 기여는 향후 화성 및 타 천체에서의 현지자원활용 기술 실현에 시작점으로서 국가 우주 탐사 전략의 경쟁력을 높이는 기반이 될 것이다.
Acknowledgments
본 논문을 작성할 수 있는 기회를 주신 대한지질학회 행성과학분과에 감사를 전합니다. 이 논문은 교육부 재원의 한국연구재단 램프(LAMP) 사업(RS-2023-00301974)과 과학기술정보통신부 재원의 기초연구실 사업(RS-2025-02293161)의 지원을 받았음을 밝힙니다. 이 논문을 사독해주신 두 분의 심사위원과 편집위원 및 편집위원장님께도 깊이 감사드립니다.
References
-
Alexiadis, A., Alberini, F. and Meyer, M.E., 2017, Geopolymers from lunar and Martian soil simulants. Advances in Space Research, 59, 490-495.
[https://doi.org/10.1016/j.asr.2016.10.003]
-
Allen, C.C., Morris, R.V. and McKay, D.S., 1996, Oxygen extraction from lunar soils and pyroclastic glass. Journal of Geophysical Research: Planets, 101, 26085-26095.
[https://doi.org/10.1029/96JE02726]
-
Ash, R.L., Dowler, W.L. and Varsi, G., 1978, Feasibility of rocket propellant production on Mars. Acta Astronautica, 5, 705-724.
[https://doi.org/10.1016/0094-5765(78)90049-8]
-
Burke, P.A., Nord, M.E., Hibbitts, C.A. and Berdis, J.R., 2024, Modeling electrolysis in reduced gravity: producing oxygen from in-situ resources at the moon and beyond. Frontiers in Space Technologies, 5, 1304579.
[https://doi.org/10.3389/frspt.2024.1304579]
-
Carr, M.H. and Head, J.W., 2015, Martian surface/near-surface water inventory: Sources, sinks, and changes with time. Geophysical Research Letters, 42, 726-732.
[https://doi.org/10.1002/2014GL062464]
-
Chatzitheodoridis, E., de Vera, J.-P., Kereszturi, A., Mason, N., Possnig, C., Puumala, M. and Vago, J.L., 2025, Perspectives for crewed missions to Mars: Exploration from orbit and/or short stay. In Verseux, C., Gargaud, M., Lehto, K. and Viso, M. (eds.), Mars and the Earthlings: A Realistic View on Mars Exploration and Settlement, 117-197.
[https://doi.org/10.1007/978-3-031-66881-4_6]
-
Cilliers, J., Hadler, K. and Rasera, J., 2023, Toward the utilisation of resources in space: knowledge gaps, open questions, and priorities. npj Microgravity, 9, 22.
[https://doi.org/10.1038/s41526-023-00274-3]
-
Davila, A.F., Willson, D., Coates, J.D. and McKay, C.P., 2013, Perchlorate on Mars: a chemical hazard and a resource for humans. International Journal of Astrobiology, 12, 321-325.
[https://doi.org/10.1017/S1473550413000189]
-
Deng, Y., Li, F., Zhou, S., Tao, X., Zhou, Q. and Feng, Q., 2025, Integrated optimization of Martian regolith sintering: Tailoring microstructure and performance in a mineralogically replicated simulant. Acta Astronautica, 237, 224-241.
[https://doi.org/10.1016/j.actaastro.2025.08.038]
-
Ehlmann, B.L. and Edwards, C.S., 2014, Mineralogy of the Martian surface. Annual Review of Earth and Planetary Sciences, 42, 291-315.
[https://doi.org/10.1146/annurev-earth-060313-055024]
-
Fernando, B., Neal, C., Kiraly, J., Fernandez, B., Patterson, R., Gyalay, S. and Lemelin, M., 2025, The case for continuing VIPER - a critical milestone on the journey back to the Moon. In Proceedings of the Space Resources Roundtable XXIV, Golden, CO, June 2025.
[https://doi.org/10.31223/X55F1T]
-
Glavin, D.P., Freissinet, C., Miller, K.E., Eigenbrode, J.L., Brunner, A.E., Buch, A. and Mahaffy, P.R., 2013, Evidence for perchlorates and the origin of chlorinated hydrocarbons detected by SAM at the Rocknest aeolian deposit in Gale Crater. Journal of Geophysical Research: Planets, 118, 1955-1973.
[https://doi.org/10.1002/jgre.20144]
-
Gupta, N., Dawara, V., Kumar, A. and Viswanathan, K., 2024, Synthetic space bricks from lunar and Martian regolith via sintering. Advances in Space Research, 74, 3902-3915.
[https://doi.org/10.1016/j.asr.2024.06.045]
-
Hecht, M.H., Kounaves, S.P., Quinn, R.C., West, S.J., Young, S.M., Ming, D.W. and Smith, P.H., 2009, Detection of perchlorate and the soluble chemistry of martian soil at the Phoenix lander site. Science, 325, 64-67.
[https://doi.org/10.1126/science.1172466]
-
Holt, J.W., Safaeinili, A., Plaut, J.J., Head, J.W., Phillips, R.J., Seu, R. and Gim, Y., 2008, Radar sounding evidence for buried glaciers in the southern mid-latitudes of Mars. Science, 322, 1235-1238.
[https://doi.org/10.1126/science.1164246]
- International Space Exploration Coordination Group (ISECG), 2021, In-Situ Resource Utilization Gap Assessment Report. https://www.globalspaceexploration.org/, (October 10, 2025).
- ISECG, 2022, Global Exploration Roadmap - Supplement Update 2022. https://www.globalspaceexploration.org/, (October 10, 2025).
- ISECG, 2024, Global Exploration Roadmap 2024. https://www.globalspaceexploration.org/, (October 10, 2025).
-
Kang, T.-Y., Kim, E. and Kim, K.J., 2024, Development of Korean Lunar Highland Soil Simulant (KIGAM-L1). Journal of Space Technology and Applications, 4, 121-136 (in Korean with English abstract).
[https://doi.org/10.52912/jsta.2024.4.2.121]
- Kappmaier, F., Witt, J. and Matthias, C., 2016, Carbon dioxide reprocessing subsystem for loop closure as part of the regenerative life support system ACLS, Proceedings of the 46th International Conference on Environmental Systems, Vienna, Austria, 10-14 Jul 2016.
-
Kelly, S., Mercer, E., Gorbanev, Y., Fedirchyk, I., Verheyen, C., Werner, K. and Bogaerts, A., 2024, Plasma-based conversion of Martian atmosphere into life-sustaining chemicals: The benefits of utilizing Martian ambient pressure. Journal of CO2 Utilization, 80, 102668.
[https://doi.org/10.1016/j.jcou.2024.102668]
- Kim, K.J., 2023, Roles of geologists for development of in-situ resources utilization technology on the Moon and Mars. 2023 Joint Fall Meeting of Korean Geological Societies (Abstracts), Pusan, November 7-11, 164 p (in Korean).
-
Kleinhenz, J.E. and Paz, A., 2017, An ISRU propellant production system for a fully fueled Mars Ascent Vehicle. In 10th Symposium on Space Resource Utilization.
[https://doi.org/10.2514/6.2017-0423]
- Kleinhenz, J., Quinn, J.W., Colaprete, A., Captain, J.E., Ennico-Smith, K., Lim, D.S.S. and Vendiola, V.R., 2024, Lunar surface missions for resource reconnaissance: NASA’s PRIME-1 and VIPER. In Space Resources Round Table.
- Koh, S.W., Chang, B.C., Koo, J.K. and Lee, T.S., 2009, Study for Korean lunar simulant prototype development. Proceedings of the 35th KSCE Convention, October 21-23, 3598-3601.
-
Leshin, L.A., Mahaffy, P.R., Webster, C.R., Cabane, M., Coll, P., Conrad, P.G. and the MSL Science Team, 2013, Volatile, isotope, and organic analysis of Martian fines with the Mars Curiosity rover. Science, 341, 1238937.
[https://doi.org/10.1126/science.1238937]
- Linne, D.L., Sanders, G.B., Starr, S.O., Eisenman, D.J., Suzuki, N.H., Anderson, M.S. and Araghi, K.R., 2017, Overview of NASA technology development for in-situ resource utilization (ISRU). In International Astronautical Congress (Report No. GRC-E-DAA-TN46532; IAC-17-D3.3.1).
-
Luo, Y., Li, J., Yin, Y. and Liu, D., 2024, Plasma-assisted nitrogen fixation for Mars: A simulation study on in-situ resource utilization. Plasma Processes and Polymers, 22, e2400235.
[https://doi.org/10.1002/ppap.202400235]
-
Martínez, G.M., Newman, C., Vicente-Retortillo, Á., Fischer, E., Rennó, N.O., Richardson, M.I. and Grotzinger, J., 2017, The modern near-surface Martian climate: A review of in-situ meteorological data from Viking to Curiosity. Space Science Reviews, 212, 295-338.
[https://doi.org/10.1007/s11214-017-0360-x]
-
MeSween Jr, H.Y., 2015, Petrology on Mars. American Mineralogist, 100, 2380-2395.
[https://doi.org/10.2138/am-2015-5257]
-
Melamed, A., Rao, A., de Rohan Willner, O. and Kreps, S., 2024, Going to outer space with new space: The rise and consequences of evolving public-private partnerships. Space Policy, 68, 101626.
[https://doi.org/10.1016/j.spacepol.2024.101626]
- Merancy, N.F., 2024, Moon to Mars Architecture - Executive Overview. NASA Technical Reports Server (NTRS 20240000449).
-
Meurisse, A. and Carpenter, J., 2020, Past, present and future rationale for space resource utilisation. Planetary and Space Science, 182, 104853.
[https://doi.org/10.1016/j.pss.2020.104853]
-
Mills, J.N., Katzarova, M. and Wagner, N.J., 2022, Comparison of lunar and Martian regolith simulant-based geopolymer cements formed by alkali-activation for in-situ resource utilization. Advances in Space Research, 69, 761-777.
[https://doi.org/10.1016/j.asr.2021.10.045]
-
Morris, R.V., Klingelhöfer, G., Schröder, C., Fleischer, I., Ming, D.W., et al., 2008, Iron mineralogy and aqueous alteration from Husband Hill through Home Plate at Gusev crater, Mars: results from the Mössbauer instrument on the Spirit Mars Exploration Rover. Journal of Geophysical Research: Planets, 113, E12S42.
[https://doi.org/10.1029/2008JE003201]
-
Morris, R.V., Klingelhöfer, G., Schröder, C., Rodionov, D.S., Yen, A., et al., 2006, Mössbauer mineralogy of rock, soil, and dust at Gusev crater, Mars: Spirit’s journey through weakly altered olivine basalt on the plains and pervasively altered basalt in the Columbia Hills. Journal of Geophysical Research: Planets, 111, E02S13.
[https://doi.org/10.1029/2005JE002584]
- Muscatello, A. and Gustafson, R.B., 2010, The 2010 field demonstration of the solar carbothermal reduction of regolith to produce oxygen. In Eleventh Space Resources Roundtable: Planetary and Terrestrial Mining Sciences Symposium (No. KSC-2010-113).
-
Muscatello, A., Hintze, P., Meier, A., Bayliss, J., Formoso, R., Shah, M. and Captain, J., 2017, Testing and modeling of the Mars atmospheric processing module. AIAA SPACE Forum, AIAA 2017-5149.
[https://doi.org/10.2514/6.2017-5149]
-
Nababan, D.C., Pownceby, M.I. and Rhamdhani, M.A., 2025a, Metals extraction on Mars through carbothermic reduction: Mars regolith simulant (MGS-1) characterization and preliminary reduction experiments. Acta Astronautica, 234, 87-98.
[https://doi.org/10.1016/j.actaastro.2025.04.050]
-
Nababan, D.C., Pownceby, M.I., Torpy, A. and Rhamdhani, M.A., 2025b, Iron (alloy) extraction on Mars through carbothermic reduction of regolith: A thermodynamic assessment and experimental study. Acta Astronautica, 234, 707-720.
[https://doi.org/10.1016/j.actaastro.2025.05.005]
-
Nababan, D.C., Shaw, M.G., Humbert, M.S., Mukhlis, R.Z. and Rhamdhani, M.A., 2022, Metals extraction on Mars through carbothermic reduction. Acta Astronautica, 198, 564-576.
[https://doi.org/10.1016/j.actaastro.2022.07.009]
-
Owen, T., Biemann, K., Rushneck, D.R., Biller, J.E., Howarth, D.W. and Lafleur, A.L., 1977, The composition of the atmosphere at the surface of Mars. Journal of Geophysical Research, 82, 4635-4639.
[https://doi.org/10.1029/JS082i028p04635]
-
Palmer, C., 2021, SpaceX Starship lands on Earth, but manned missions to Mars will require more. Engineering, 7, 1345-1347.
[https://doi.org/10.1016/j.eng.2021.08.005]
- Park, S., 2023, Photoelectric current density measurement for lunar daytime simulation: guiding large-scale experiment design. In Proceedings of the XXIII Space Resources Roundtable, Golden, CO, June 6-9, 2023, KICT.
-
Pathare, A., Feldman, W.T., Prettyman, T.H. and Maurice, S., 2018, Driven by excess? Climatic implications of new global mapping of near-surface water-equivalent hydrogen on Mars. Icarus, 301, 97-116.
[https://doi.org/10.1016/j.icarus.2017.09.031]
-
Plaut, J.J., Safaeinili, A., Holt, J.W., Phillips, R.J., Head, J.W., Seu, R., Putzig, N. and Frigeri, A., 2009, Radar evidence for ice in lobate debris aprons in the mid-northern latitudes of Mars. Geophysical Research Letters, 36, L02203.
[https://doi.org/10.1029/2008GL036379]
- Quinn, J.W., Captain, J.E., Eichenbaum, A.S., Aguilar-Ayala, R., Kleinhenz, J.E., Zacny, K.A. and Vendiola, V.R., 2023, Polar Resources Ice Mining Experiment-1 (PRIME-1): NASA’s first polar drilling and volatiles detection mission. In Space Resources Roundtable XXIII Meeting.
-
Rausser, G., Choi, E. and Bayen, A., 2023, Public-private partnerships in fostering outer space innovations. Proceedings of the National Academy of Sciences, 120, e2222013120.
[https://doi.org/10.1073/pnas.2222013120]
-
Rieder, R., Gellert, R., Anderson, R.C., Brückner, J., Clark, B.C., Dreibus, G. and Zipfel, J., 2004, Chemistry of rocks and soils at Meridiani Planum from the Alpha Particle X-ray Spectrometer. Science, 306, 1746-1749.
[https://doi.org/10.1126/science.1104358]
-
Royle, S.H., Montgomery, W., Kounaves, S.P. and Sephton, M.A., 2017, Effect of hydration state of martian perchlorate salts on their decomposition temperatures during thermal extraction. Journal of Geophysical Research: Planets, 122, 2793-2802.
[https://doi.org/10.1002/2017JE005381]
-
Ryu, B.H., Baek, Y., Kim, Y.S. and Chang, I., 2016, Basic study for a Korean lunar simulant (KLS-1) development. Journal of the Korean Geotechnical Society, 31, 53-63 (in Korean with English abstract).
[https://doi.org/10.7843/kgs.2015.31.7.53]
-
Ryu, B.H., Kim, Y.J., Jin, H. and Lee, J., 2021, Advanced manufacturing process of Korea lunar simulant. Earth & Space 2021, 222-228.
[https://doi.org/10.1061/9780784483374.022]
- Sanders, J., 2016, L-8: In-situ resource utilization capabilities. In SpaceCom - The Space Commerce Conference and Exposition (JSC-CN-37743).
- Sanders, G.B. and Duke, M., 2005, In-situ resource utilization (ISRU) capability roadmap. NASA/JSC. 19.
- Sanders, G.B. and Kleinhenz, J.E., 2022, NASA envisioned future priorities for in situ resource utilization. International Astronautical Congress (IAC 2022), Paper IAC-22-D3.2A.
- Sanders, G.B. and Kleinhenz, J.E., 2024, Update on NASA’s ISRU development and mission plans for the Artemis Program. 75th International Astronautical Congress (IAC), October 14-18, 20240012396.
- Sanders, G.J. and Kleinhenz, J., 2025, Restructuring development and implementation of ISRU in NASA’s Artemis Program. Luxembourg Space Resources Week, European Space Research and Technology Centre, May 19-21, 2025003732.
-
Schlüter, L. and Cowley, A., 2020, Review of techniques for in-situ oxygen extraction on the Moon. Planetary and Space Science, 181, 104753.
[https://doi.org/10.1016/j.pss.2019.104753]
-
Seedhouse, E., 2022, SpaceX: Starship to Mars - The First 20 Years. Springer Nature.
[https://doi.org/10.1007/978-3-030-99181-4]
- Sibille, L., Sadoway, D.R., Sirk, A., Tripathy, P., Melendez, O., Standish, E. and Poizeau, S., 2009, Production of oxygen from lunar regolith using molten oxide electrolysis. Space Propulsion and Energy Sciences International Forum (M09-0370).
-
Starr, S.O. and Muscatello, A.C., 2020, Mars in situ resource utilization: a review. Planetary and Space Science, 182, 104824.
[https://doi.org/10.1016/j.pss.2019.104824]
-
Stuurman, C., Osinski, G., Holt, J., Levy, J., Brothers, T., Kerrigan, M. and Campbell, B., 2016, SHARAD detection and characterization of subsurface water ice deposits in Utopia Planitia, Mars. Geophysical Research Letters, 43, 9484-9491.
[https://doi.org/10.1002/2016GL070138]
-
Thomas, N.R. and Sewel, A., 2025, Reviewing the history of Martian exploration. Oxford Research Encyclopedia of Planetary Science.
[https://doi.org/10.1093/acrefore/9780190647926.013.260]
-
Trokhimovskiy, A., Fedorova, A., Korablev, O, Montmessin, F., Bertaux, J.-L., Rodin, A. and Smith, M.D., 2015, Mars water vapor mapping by SPICAM IR spectrometer: Five Martian years of observations. Icarus, 251, 50-64.
[https://doi.org/10.1016/j.icarus.2014.10.007]
-
Warren, P., Raju, N., Ebrahimi, H., Krsmanovic, M., Raghavan, S., Kapat, J. and Ghosh, R., 2022, Effect of sintering temperature on microstructure and mechanical properties of molded Martian and Lunar regolith, Ceramics International, 48, 35825-35833.
[https://doi.org/10.1016/j.ceramint.2022.07.329]
-
Wilson, J.T., Eke, V.R., Massey, R.J., Elphic, R.C., Feldman, W.C., Maurice, S. and Teodoro, L.F.A., 2018, Equatorial locations of water on Mars: Improved resolution maps based on Mars Odyssey Neutron Spectrometer data. Icarus, 299, 148-160.
[https://doi.org/10.1016/j.icarus.2017.07.028]
-
Wu, C., Yu, Z., Shao, R. and Li, J., 2024, A comprehensive review of extraterrestrial construction, from space concrete materials to habitat structures. Engineering Structures, 318, 118723.
[https://doi.org/10.1016/j.engstruct.2024.118723]
-
Yoo, S.H., Kim, H.D., Im, J.H. and Park, J., 2014, Development of KAU mechanical lunar simulants and drop test of lunar landing gears. Journal of the Korean Society for Aeronautical and Space Sciences, 42, 1037-1044 (in Korean with English abstract).
[https://doi.org/10.5139/JKSAS.2014.42.12.1037]
- Yoo, Y., Chung, H.S., Shin, E.L., Patrick, R., Graham, G.F., et al., 2018, The KICT dirty thermal vacuum chamber (DTVC): large-scale space environment simulation of the Moon and Mars. Proceedings of the Lunar and Planetary Science Conference, The Woodlands, TX, 19-23 Mar 2018.
-
Zheng, W. and Qiao, G., 2022, Metal alloys obtained from solid Martian regolith simulant by an electrochemical reduction process. Advances in Space Research, 70, 1175-1187.
[https://doi.org/10.1016/j.asr.2022.05.047]
-
Zhou, C., Gao, Y., Zhou, Y., She, W., Shi, Y., Ding, L. and Miao, C., 2024, Properties and characteristics of regolith-based materials for extraterrestrial construction. Engineering, 37, 159-181.
[https://doi.org/10.1016/j.eng.2023.11.019]
-
Zhu, H., Tan, S., Lan, C., Liu, D. and Lu, X., 2025, In situ utilization of Martian resources: Advances and prospects in plasma technology. ACS Sustainable Chemistry & Engineering, 13, 8406-8423.
[https://doi.org/10.1021/acssuschemeng.5c02413]


